专利数据库
统计分析
产业报告
专利数据监控
产业人才
行业动态
产业政策法规
维权援助
个人中心
详情
文本
图像
标题
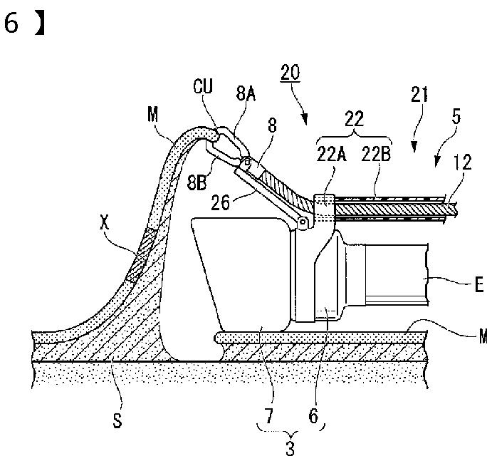
内視鏡用処置具
授权日
2011-10-21
公开(公告)号
JP4847354B2
申请日
2007-01-22
公开(公告)日
2011-12-28
当前申请(专利权)人
オリンパスメディカルシステムズ株式会社
发明人
六鎗 雄太 | 鈴木 啓太 | 岡田 勉 | 本椙 俊介
简单同族
EP1946707A2 | EP1946707A3 | EP1946707B1 | EP2740421A1 | EP2740421B1 | JP2008173369A | JP4847354B2 | US20080177135A1 | US20140066707A1 | US8602970 | US9125551
简单同族成员数量
11
简单同族被引用专利总数
112
诉讼案件数
0
法律状态/事件
授权 | 权利转移
抱歉,您的浏览器不支持PDF预览,请点击链接下载PDF文件