专利数据库
统计分析
产业报告
专利数据监控
产业人才
行业动态
产业政策法规
维权援助
个人中心
详情
文本
图像
标题
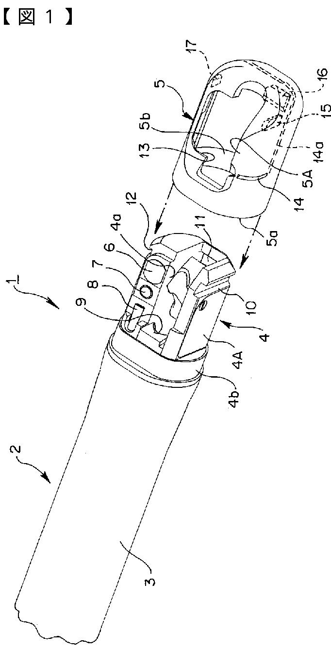
内視鏡用先端カバー、内視鏡装置、及び内視鏡装置における内視鏡の先端カバーの取り外し方法
授权日
2011-11-04
公开(公告)号
JP4855824B2
申请日
2006-04-25
公开(公告)日
2012-01-18
当前申请(专利权)人
オリンパスメディカルシステムズ株式会社
发明人
濱▲崎▼ 昌典 | 北野 誠二
简单同族
CN101061940A | CN101061940B | CN201055370Y | DE602007007386D1 | EP1849397A1 | EP1849397B1 | JP2007289434A | JP4855824B2 | US20070246506A1 | US8038604
简单同族成员数量
10
简单同族被引用专利总数
80
诉讼案件数
0
法律状态/事件
授权 | 权利转移
抱歉,您的浏览器不支持PDF预览,请点击链接下载PDF文件