专利数据库
统计分析
产业报告
专利数据监控
产业人才
行业动态
产业政策法规
维权援助
个人中心
详情
文本
图像
标题
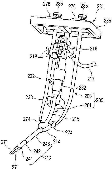
処置用内視鏡
授权日
1900-01-01
公开(公告)号
JP2010057895A
申请日
2009-06-09
公开(公告)日
2010-03-18
当前申请(专利权)人
オリンパスメディカルシステムズ株式会社 | オリンパス株式会社
发明人
伊藤 義晃 | 田中 宏和 | 北川 英哉 | 家出 太郎 | 宮本 学
简单同族
CN102123653A | CN102123653B | EP2322076A1 | EP2322076A4 | EP2322076B1 | JP2010057895A | JP5407036B2 | US20100081874A1 | US20140296631A1 | US8727968 | US9186050 | WO2010026991A1
简单同族成员数量
12
简单同族被引用专利总数
64
诉讼案件数
0
法律状态/事件
授权 | 权利转移
抱歉,您的浏览器不支持PDF预览,请点击链接下载PDF文件