专利数据库
统计分析
产业报告
专利数据监控
产业人才
行业动态
产业政策法规
维权援助
个人中心
详情
文本
图像
标题
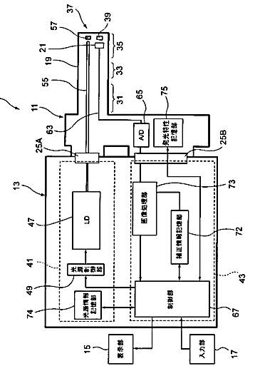
内視鏡システム
授权日
1900-01-01
公开(公告)号
JP2011067267A
申请日
2009-09-24
公开(公告)日
2011-04-07
当前申请(专利权)人
富士フイルム株式会社
发明人
小澤 聡 | 飯田 孝之
简单同族
EP2301419A1 | EP2301419B1 | JP2011067267A | JP5325726B2 | US20110069161A1 | US8665327
简单同族成员数量
6
简单同族被引用专利总数
31
诉讼案件数
0
法律状态/事件
授权
抱歉,您的浏览器不支持PDF预览,请点击链接下载PDF文件