专利数据库
统计分析
产业报告
专利数据监控
产业人才
行业动态
产业政策法规
维权援助
个人中心
详情
文本
图像
标题
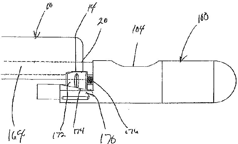
単一挿管複数回縫合内視鏡型縫合システム
授权日
1900-01-01
公开(公告)号
JP2007500575A
申请日
2004-05-17
公开(公告)日
2007-01-18
当前申请(专利权)人
シー·アール·バード·インク
发明人
リチャード·エイ·ガンベール | ピーター·ジェイ·ルーキン | ポール·ディセサレ | クリストファー·バトルス | ジェフリー·ラジウナス | ダニエリ·フェリエラ
简单同族
AU2004240645A1 | AU2004240645B2 | BRPI0410376A | BRPI0410376A2 | BRPI0410376B1 | CA2525275A1 | CA2525275C | CN1822794A | CN1822794B | EP1631201A1 | EP1631201A4 | EP1631201B1 | ES2705604T3 | JP2007500575A | JP2010246939A | JP4565218B2 | MXPA05012303A | NO20055381A | NO20055381D0 | NO20055381L | NO339143B1 | US20050033319A1 | US8075573 | WO2004103189A1
简单同族成员数量
24
简单同族被引用专利总数
397
诉讼案件数
0
法律状态/事件
未缴年费
抱歉,您的浏览器不支持PDF预览,请点击链接下载PDF文件