专利数据库
统计分析
产业报告
专利数据监控
产业人才
行业动态
产业政策法规
维权援助
个人中心
详情
文本
图像
标题
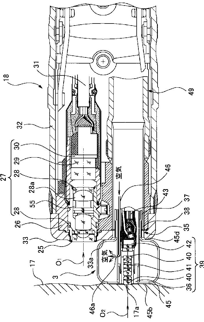
内視鏡および内視鏡システム
授权日
1900-01-01
公开(公告)号
JP2007319396A
申请日
2006-05-31
公开(公告)日
2007-12-13
当前申请(专利权)人
オリンパスメディカルシステムズ株式会社
发明人
一村 博信 | 三宅 清士 | 高頭 英泰 | 野口 あずさ | 道口 信行 | 後野 和弘
简单同族
CN101453936A | CN101453936B | EP2022387A1 | EP2022387A4 | EP2022387B1 | JP2007319396A | US20090082626A1 | WO2007138889A1
简单同族成员数量
8
简单同族被引用专利总数
37
诉讼案件数
0
法律状态/事件
驳回
抱歉,您的浏览器不支持PDF预览,请点击链接下载PDF文件