专利数据库
统计分析
产业报告
专利数据监控
产业人才
行业动态
产业政策法规
维权援助
个人中心
详情
文本
图像
标题
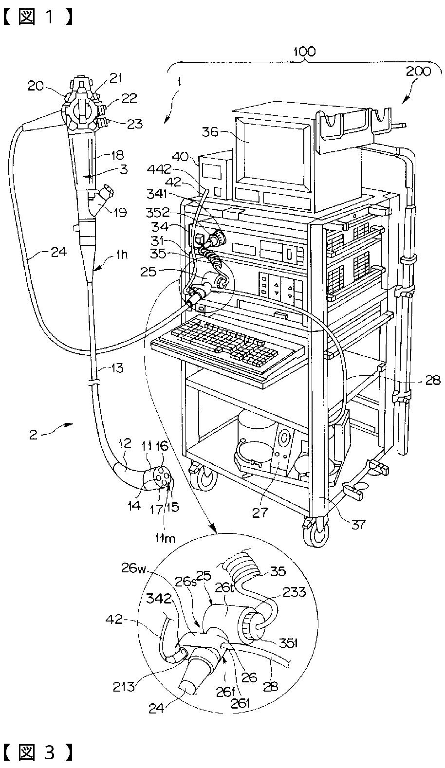
内視鏡
授权日
2013-01-11
公开(公告)号
JP5173164B2
申请日
2006-08-11
公开(公告)日
2013-03-27
当前申请(专利权)人
オリンパスメディカルシステムズ株式会社
发明人
吉満 浩一 | 大田原 崇
简单同族
CN101120869A | CN101120869B | EP1886619A1 | EP1886619B1 | JP2008043450A | JP5173164B2 | US20080039689A1 | US8187175
简单同族成员数量
8
简单同族被引用专利总数
48
诉讼案件数
0
法律状态/事件
授权 | 权利转移
抱歉,您的浏览器不支持PDF预览,请点击链接下载PDF文件