专利数据库
统计分析
产业报告
专利数据监控
产业人才
行业动态
产业政策法规
维权援助
个人中心
详情
文本
图像
标题
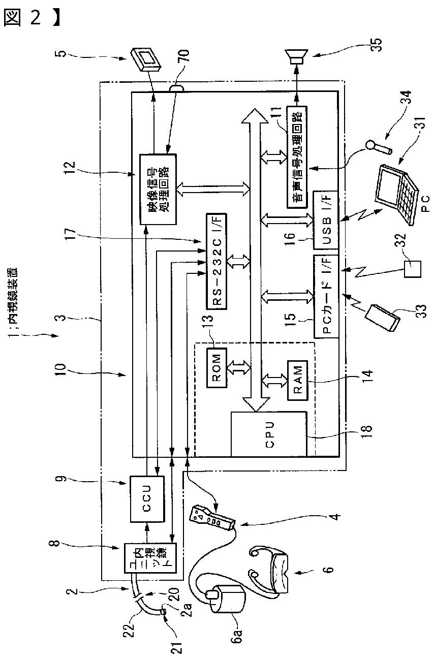
計測用内視鏡装置及び内視鏡用プログラム
授权日
2011-12-16
公开(公告)号
JP4885479B2
申请日
2005-05-24
公开(公告)日
2012-02-29
当前申请(专利权)人
オリンパス株式会社
发明人
小川 清富
简单同族
JP2006136706A | JP4885479B2
简单同族成员数量
2
简单同族被引用专利总数
30
诉讼案件数
0
法律状态/事件
授权 | 权利转移
抱歉,您的浏览器不支持PDF预览,请点击链接下载PDF文件