专利数据库
统计分析
产业报告
专利数据监控
产业人才
行业动态
产业政策法规
维权援助
个人中心
详情
文本
图像
标题
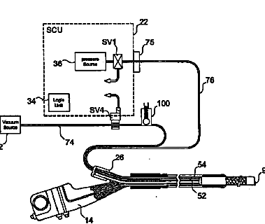
圧力解放機構を備えた内視鏡装置
授权日
1900-01-01
公开(公告)号
JP2009521297A
申请日
2006-12-25
公开(公告)日
2009-06-04
当前申请(专利权)人
ストライカー ジーアイ リミテッド
发明人
バー オーアール,ヤコブ | ダン,オーゼット | レビン,ビクター | シャービット,メナヒム
简单同族
AU2006329596A1 | BRPI0621261A2 | CA2634844A1 | CN101346096A | EP1965690A2 | JP2009521297A | KR1020080078015A | US20070179432A1 | WO2007074442A2 | WO2007074442A3
简单同族成员数量
10
简单同族被引用专利总数
32
诉讼案件数
0
法律状态/事件
撤回
抱歉,您的浏览器不支持PDF预览,请点击链接下载PDF文件