专利数据库
统计分析
产业报告
专利数据监控
产业人才
行业动态
产业政策法规
维权援助
个人中心
详情
文本
图像
标题
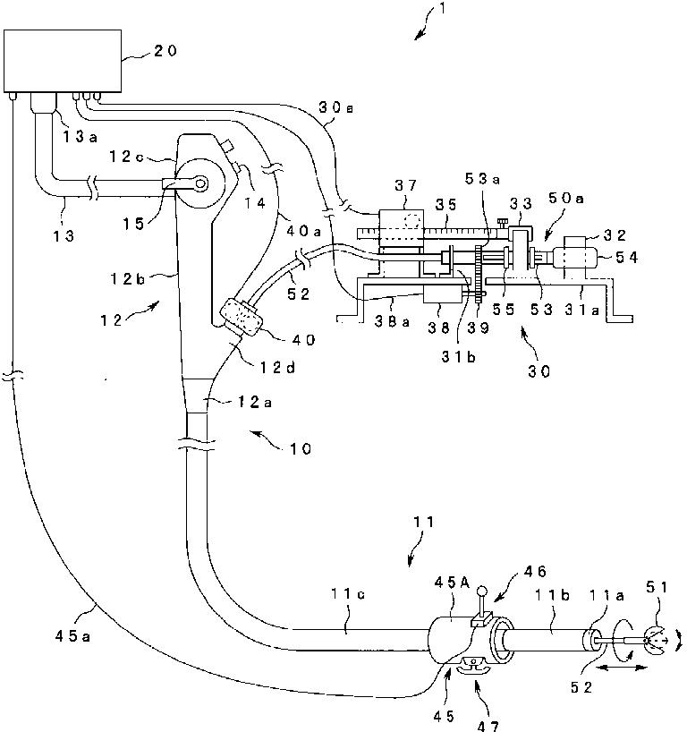
内視鏡システム
授权日
1900-01-01
公开(公告)号
JP2007089808A
申请日
2005-09-28
公开(公告)日
2007-04-12
当前申请(专利权)人
オリンパスメディカルシステムズ株式会社
发明人
西家 武弘 | 倉 康人 | 小宮 孝章 | 村上 和士 | 小貫 喜生
简单同族
EP1769722A2 | EP1769722A3 | EP1769722B1 | JP2007089808A | JP2007089808A5 | JP4728075B2 | US20070078301A1 | US7998058
简单同族成员数量
8
简单同族被引用专利总数
97
诉讼案件数
0
法律状态/事件
授权 | 权利转移
抱歉,您的浏览器不支持PDF预览,请点击链接下载PDF文件