专利数据库
统计分析
产业报告
专利数据监控
产业人才
行业动态
产业政策法规
维权援助
个人中心
详情
文本
图像
标题
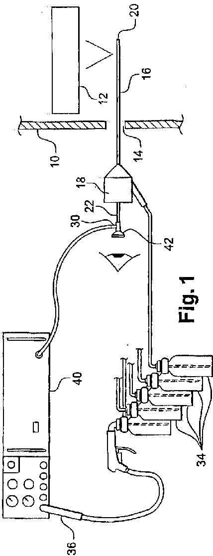
内視鏡検査法によって部品の欠陥を探索して検出するための装置
授权日
2007-12-28
公开(公告)号
JP4060293B2
申请日
2004-07-01
公开(公告)日
2008-03-12
当前申请(专利权)人
スネクマ | スネクマ·セルビス
发明人
イザベル·ボナング | ジヨン·ルケレツク | ジヤン-クロード·ルモワル | ミシエル·バセラ
简单同族
AT352053T | CA2472883A1 | CA2472883C | CN1576830A | DE602004004323D1 | DE602004004323T2 | EG23532A | EP1494060A1 | EP1494060B1 | ES2280915T3 | FR2857094A1 | FR2857094B1 | IL162830A | IL162830D0 | JP2005031665A | JP4060293B2 | MA27218A1 | ME00020B | MEP200852A | NO20042800A | NO20042800L | NO336830B1 | PL1494060T3 | PT1494060E | RS50154B | RU2004120265A | RU2349943C2 | SG108333A1 | TNSN04123A1 | UA82658C2 | US20050200842A1 | US20080297785A1 | US7651464 | US7794395 | YU2004590A | YU59004A | ZA200405259B
简单同族成员数量
37
简单同族被引用专利总数
49
诉讼案件数
0
法律状态/事件
授权 | 权利转移
抱歉,您的浏览器不支持PDF预览,请点击链接下载PDF文件