专利数据库
统计分析
产业报告
专利数据监控
产业人才
行业动态
产业政策法规
维权援助
个人中心
详情
文本
图像
标题
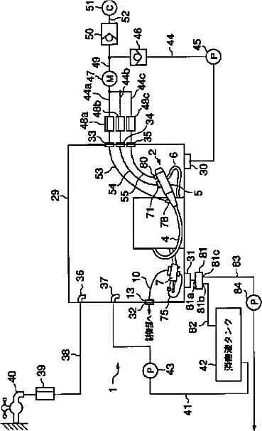
内視鏡洗滌消毒装置
授权日
1900-01-01
公开(公告)号
JP2001299697A
申请日
2001-02-06
公开(公告)日
2001-10-30
当前申请(专利权)人
オリンパス株式会社
发明人
長谷川 準
简单同族
AU2002354142A1 | CN100399979C | CN1691914A | DE60321161D1 | EP1502538A1 | EP1502538A4 | EP1502538B1 | JP2001299697A | JP4504198B2 | JP4633274B2 | JPWO2004049925A1 | US20050065405A1 | US20090192354A1 | WO2004049924A1 | WO2004049925A1
简单同族成员数量
15
简单同族被引用专利总数
141
诉讼案件数
0
法律状态/事件
授权 | 权利转移
抱歉,您的浏览器不支持PDF预览,请点击链接下载PDF文件