专利数据库
统计分析
产业报告
专利数据监控
产业人才
行业动态
产业政策法规
维权援助
个人中心
详情
文本
图像
标题
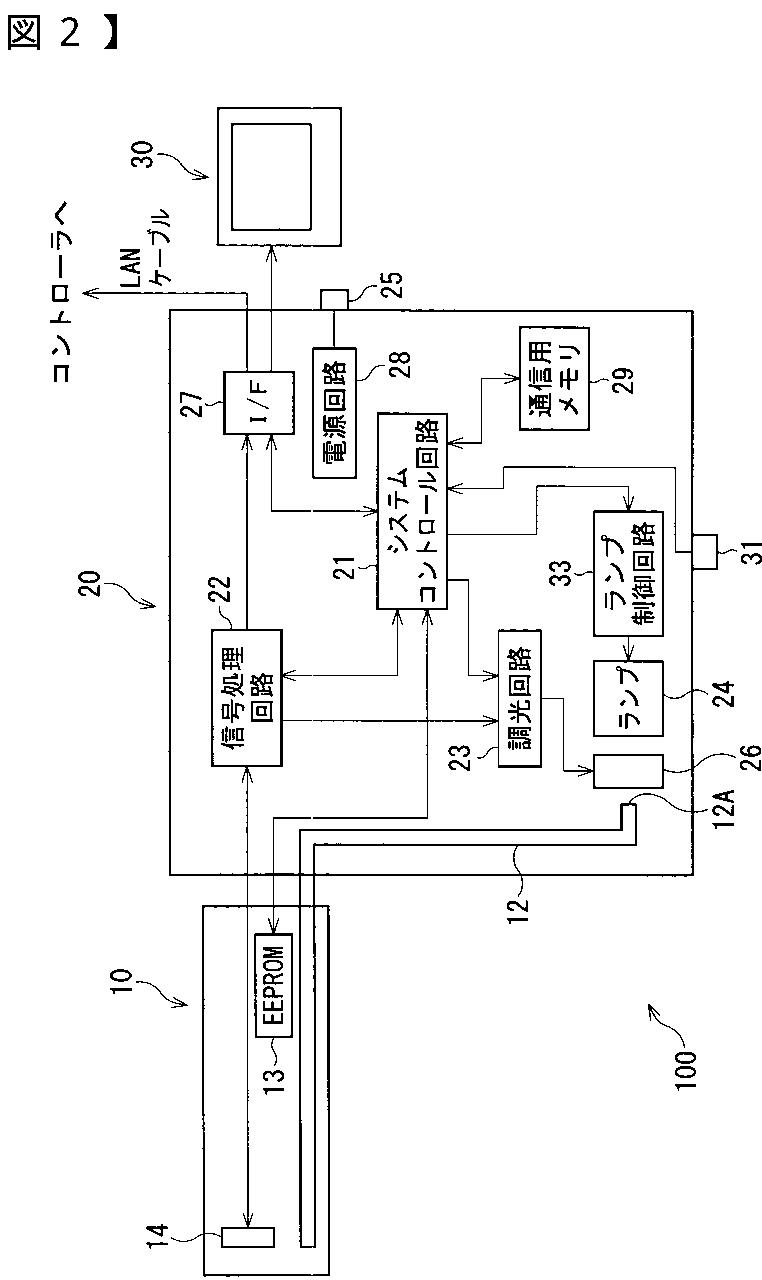
内視鏡システム、内視鏡システムの作動方法、内視鏡プロセッサ、および内視鏡プロセッサ制御装置
授权日
2012-07-06
公开(公告)号
JP5033394B2
申请日
2006-10-30
公开(公告)日
2012-09-26
当前申请(专利权)人
HOYA株式会社
发明人
日比 春彦
简单同族
JP2008109986A | JP5033394B2 | US20080100699A1 | US8125515
简单同族成员数量
4
简单同族被引用专利总数
51
诉讼案件数
0
法律状态/事件
授权 | 权利转移
抱歉,您的浏览器不支持PDF预览,请点击链接下载PDF文件