专利数据库
统计分析
产业报告
专利数据监控
产业人才
行业动态
产业政策法规
维权援助
个人中心
详情
文本
图像
标题
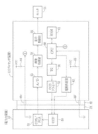
内視鏡用プロセッサ装置及び内視鏡システム
授权日
1900-01-01
公开(公告)号
JP2009189528A
申请日
2008-02-14
公开(公告)日
2009-08-27
当前申请(专利权)人
フジノン株式会社
发明人
樋口 充
简单同族
EP2090216A1 | EP2090216B1 | JP2009189528A | US20090209811A1
简单同族成员数量
4
简单同族被引用专利总数
49
诉讼案件数
0
法律状态/事件
驳回 | 权利转移
抱歉,您的浏览器不支持PDF预览,请点击链接下载PDF文件