专利数据库
统计分析
产业报告
专利数据监控
产业人才
行业动态
产业政策法规
维权援助
个人中心
详情
文本
图像
标题
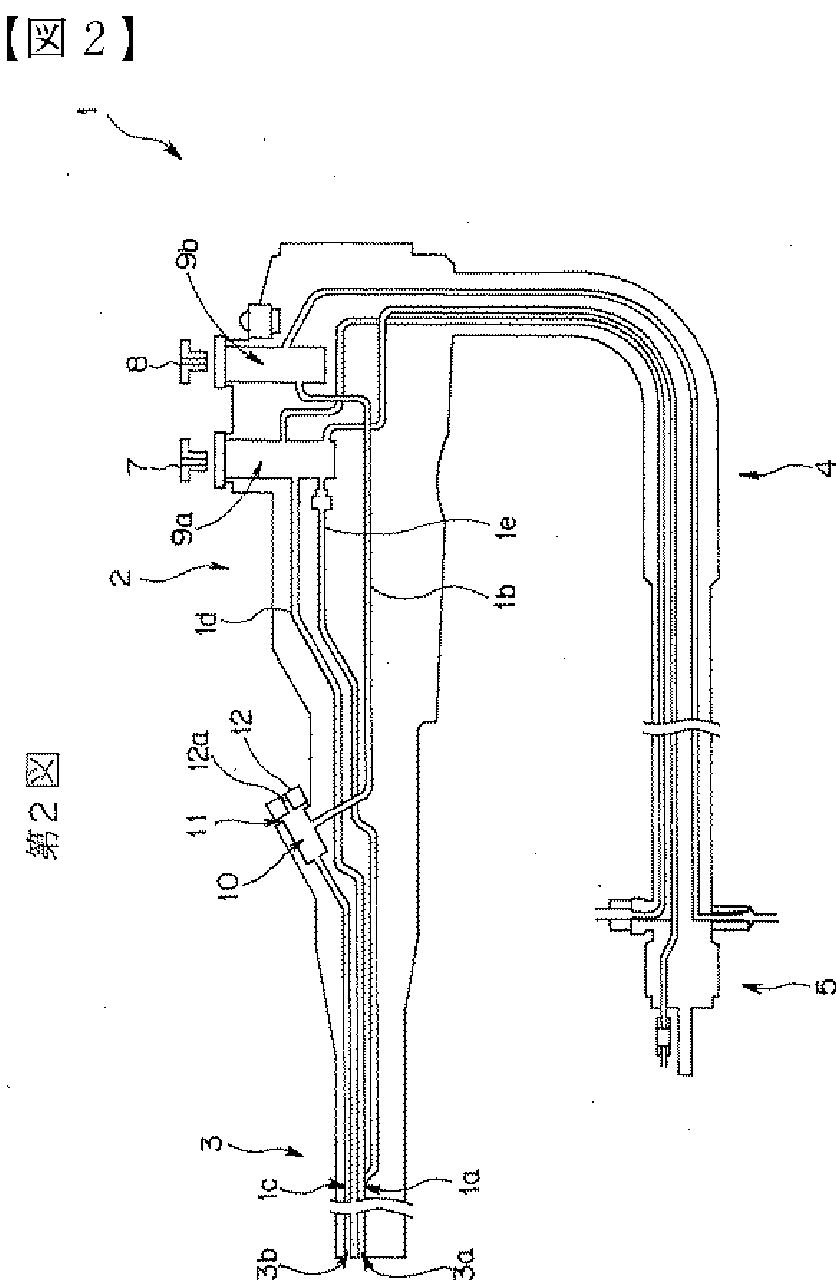
内視鏡システム
授权日
1900-01-01
公开(公告)号
JPWO2005077249A1
申请日
2004-02-16
公开(公告)日
2007-08-23
当前申请(专利权)人
オリンパス株式会社
发明人
野口 利昭 | 長谷川 準 | 後町 昌紀 | 鈴木 英理 | 黒島 尚士
简单同族
AU2004315563A1 | AU2004315563B2 | CN100446712C | CN1826078A | EP1645219A1 | EP1645219A4 | EP1645219B1 | JP4461100B2 | JPWO2005077249A1 | US20060116550A1 | US7582056 | WO2005077249A1
简单同族成员数量
12
简单同族被引用专利总数
133
诉讼案件数
0
法律状态/事件
授权 | 权利转移
抱歉,您的浏览器不支持PDF预览,请点击链接下载PDF文件