专利数据库
统计分析
产业报告
专利数据监控
产业人才
行业动态
产业政策法规
维权援助
个人中心
详情
文本
图像
标题
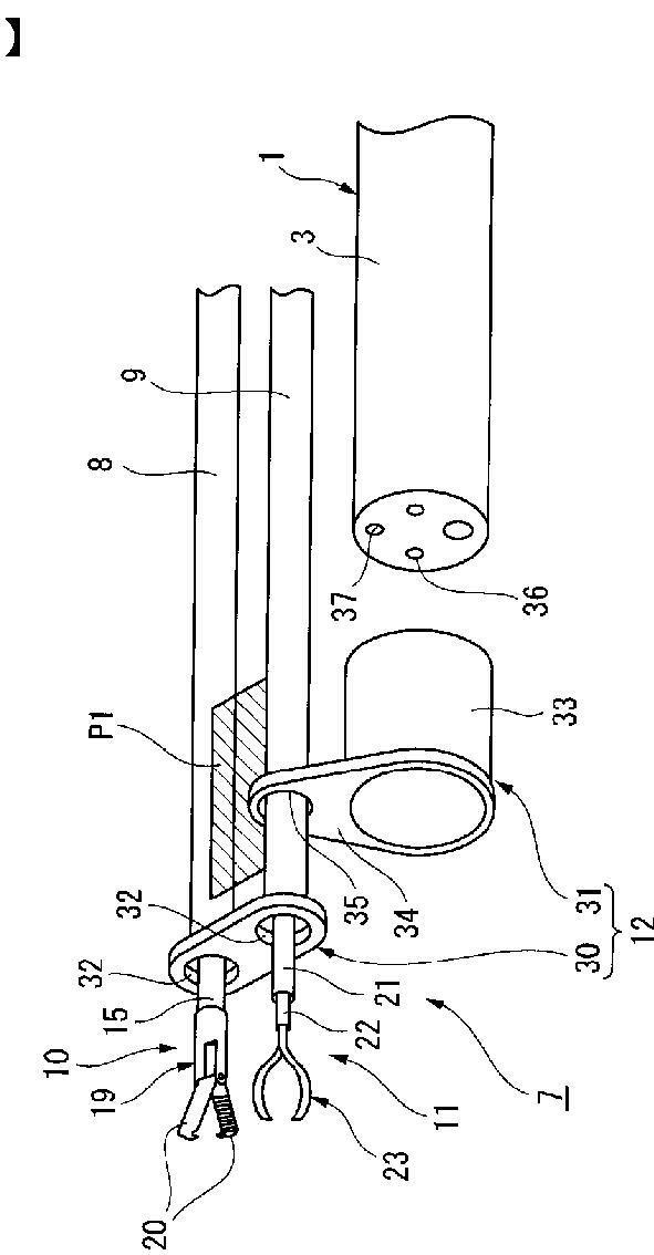
内視鏡用処置具及び内視鏡処置システム並びに支持アダプタ
授权日
2009-05-01
公开(公告)号
JP4302602B2
申请日
2004-09-24
公开(公告)日
2009-07-29
当前申请(专利权)人
オリンパス株式会社
发明人
竹本 昌太郎 | 山本 哲也 | 小貫 喜生 | 川島 晃一 | 坂本 雄次
简单同族
DE602005003182D1 | DE602005003182T2 | EP1639936A1 | EP1639936B1 | JP2006087687A | JP4302602B2 | US20060069304A1 | US7575548
简单同族成员数量
8
简单同族被引用专利总数
212
诉讼案件数
0
法律状态/事件
授权 | 权利转移
抱歉,您的浏览器不支持PDF预览,请点击链接下载PDF文件