专利数据库
统计分析
产业报告
专利数据监控
产业人才
行业动态
产业政策法规
维权援助
个人中心
详情
文本
图像
标题
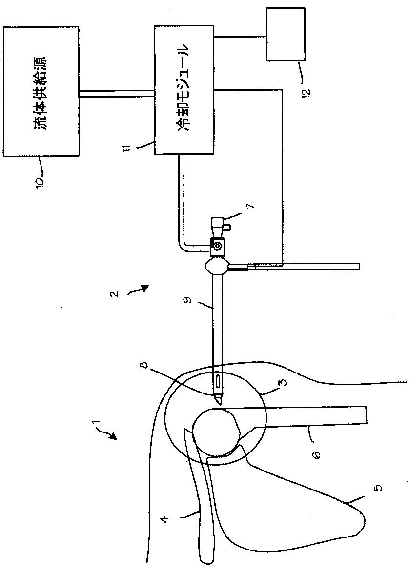
関節内視鏡高周波焼灼処置手術温度調節システム
授权日
2013-05-02
公开(公告)号
JP5260292B2
申请日
2006-09-13
公开(公告)日
2013-08-14
当前申请(专利权)人
カンヌフロウ インコーポレイテッド
发明人
セオドア アール カックリック
简单同族
EP1933744A1 | EP1933744A4 | EP1933744B1 | JP2009508591A | JP5260292B2 | US10448993 | US20070060915A1 | US20150088066A1 | US20200046418A1 | US8852184 | WO2007035574A1
简单同族成员数量
11
简单同族被引用专利总数
322
诉讼案件数
0
法律状态/事件
授权
抱歉,您的浏览器不支持PDF预览,请点击链接下载PDF文件