专利数据库
统计分析
产业报告
专利数据监控
产业人才
行业动态
产业政策法规
维权援助
个人中心
详情
文本
图像
标题
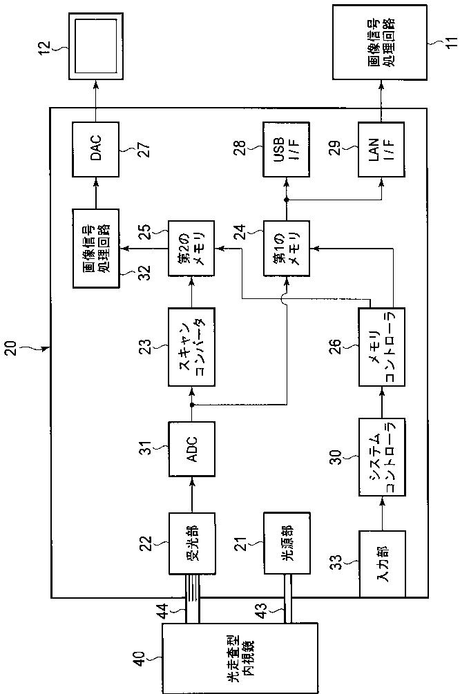
光走査型内視鏡プロセッサ、画像処理装置、および光走査型内視鏡システム
授权日
1900-01-01
公开(公告)号
JP2010131161A
申请日
2008-12-04
公开(公告)日
2010-06-17
当前申请(专利权)人
HOYA株式会社
发明人
池田 友輝
简单同族
DE102009057069A1 | JP2010131161A | US20100141746A1
简单同族成员数量
3
简单同族被引用专利总数
34
诉讼案件数
0
法律状态/事件
撤回
抱歉,您的浏览器不支持PDF预览,请点击链接下载PDF文件