专利数据库
统计分析
产业报告
专利数据监控
产业人才
行业动态
产业政策法规
维权援助
个人中心
详情
文本
图像
标题
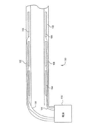
内視鏡の可変可撓性シャフト
授权日
1900-01-01
公开(公告)号
JP2008049151A
申请日
2007-07-30
公开(公告)日
2008-03-06
当前申请(专利权)人
カール·ストーツ·エンドヴィジョン·インコーポレーテッド
发明人
ダナ·ジェイ·ランドリー
简单同族
CA2593957A1 | CA2593957C | EP1891881A1 | EP1891881B1 | JP2008049151A | JP4891174B2 | US20080045795A1 | US7789827
简单同族成员数量
8
简单同族被引用专利总数
72
诉讼案件数
0
法律状态/事件
授权
抱歉,您的浏览器不支持PDF预览,请点击链接下载PDF文件