专利数据库
统计分析
产业报告
专利数据监控
产业人才
行业动态
产业政策法规
维权援助
个人中心
详情
文本
图像
标题
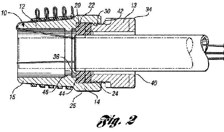
コネクタを備える内視鏡バレル
授权日
1900-01-01
公开(公告)号
JP2010523281A
申请日
2008-04-10
公开(公告)日
2010-07-15
当前申请(专利权)人
クック メディカル テクノロジーズ エルエルシー
发明人
サーティ, ヴィルー, シー.
简单同族
AU2008240316A1 | AU2008240316B2 | CA2683766A1 | CA2683766C | EP2136719A1 | EP2136719B1 | JP2010523281A | JP5503527B2 | US20080255412A1 | US8496578 | WO2008127963A1
简单同族成员数量
11
简单同族被引用专利总数
26
诉讼案件数
0
法律状态/事件
授权 | 权利转移
抱歉,您的浏览器不支持PDF预览,请点击链接下载PDF文件