专利数据库
统计分析
产业报告
专利数据监控
产业人才
行业动态
产业政策法规
维权援助
个人中心
详情
文本
图像
标题
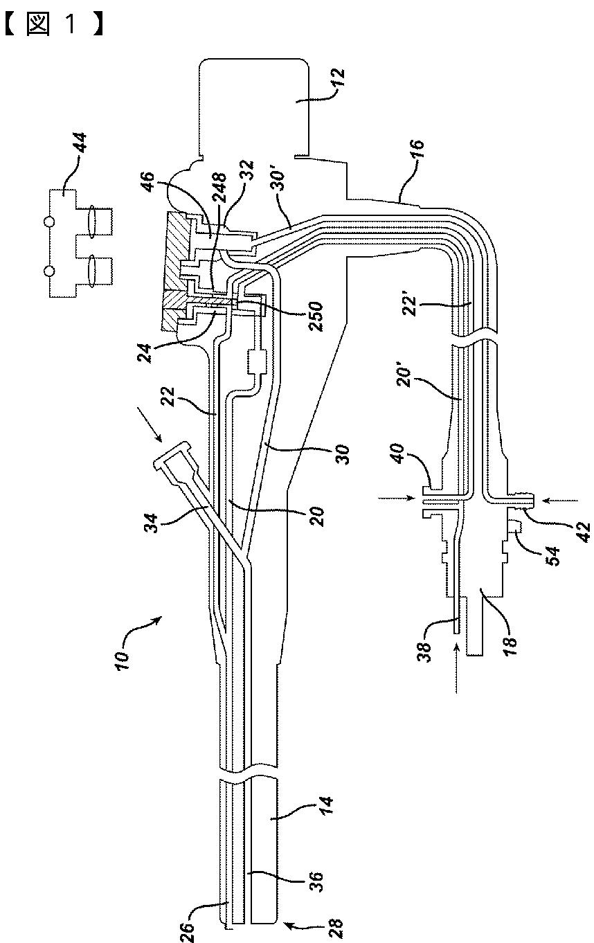
キャビネット型内視鏡プロセッサ
授权日
2012-08-17
公开(公告)号
JP5064020B2
申请日
2006-12-28
公开(公告)日
2012-10-31
当前申请(专利权)人
エシコン·インコーポレイテッド
发明人
リン·ス-ミン | プラット·ジュニア·ロバート·シー | ミールチャンダニ·ビノド
简单同族
AR058906A1 | AT425772T | AU2006252319A1 | AU2006252319B2 | BRPI0605665A2 | CA2571953A1 | CA2571953C | CN1989893A | CN1989893B | CO5770088A1 | DE602006005783D1 | EP1815874A1 | EP1815874B1 | ES2322615T3 | JP2007181687A | JP5064020B2 | KR1020070072410A | MX2007000294A | MX277178B | PL1815874T3 | RU2006147215A | RU2423067C2 | TW200744685A | TWI400099B | US20070154346A1 | US7651672 | ZA200610830B
简单同族成员数量
27
简单同族被引用专利总数
20
诉讼案件数
0
法律状态/事件
授权
抱歉,您的浏览器不支持PDF预览,请点击链接下载PDF文件