专利数据库
统计分析
产业报告
专利数据监控
产业人才
行业动态
产业政策法规
维权援助
个人中心
详情
文本
图像
标题
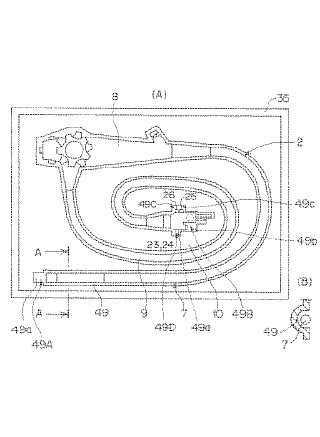
内視鏡システム
授权日
1900-01-01
公开(公告)号
JP2005143669A
申请日
2003-11-12
公开(公告)日
2005-06-09
当前申请(专利权)人
オリンパス株式会社
发明人
森山 宏樹 | 渡辺 厚 | 西家 武弘
简单同族
AU2004289131A1 | AU2004289131B2 | CA2545691A1 | CA2545691C | CN100438816C | CN1878496A | EP1683469A2 | EP1683469A4 | EP1683469B1 | JP2005143669A | JP4414734B2 | KR100752489B1 | KR1020060085954A | US20060193761A1 | US7993602 | WO2005046427A2 | WO2005046427A3
简单同族成员数量
17
简单同族被引用专利总数
27
诉讼案件数
0
法律状态/事件
授权 | 权利转移
抱歉,您的浏览器不支持PDF预览,请点击链接下载PDF文件