专利数据库
统计分析
产业报告
专利数据监控
产业人才
行业动态
产业政策法规
维权援助
个人中心
详情
文本
图像
标题
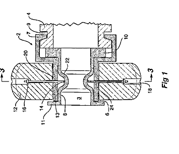
アクセスバルブ
授权日
1900-01-01
公开(公告)号
JP2010048419A
申请日
2009-10-13
公开(公告)日
2010-03-04
当前申请(专利权)人
ウイリアム エー クック オーストラリア ピィティワイ リミテッド | クック メディカル テクノロジーズ エルエルシー
发明人
ハートレイ,デイヴィット,アーネスト
简单同族
AT328229T | CA2464543A1 | CA2464543C | DE60211942D1 | DE60211942T2 | EP1451494A1 | EP1451494B1 | JP2005511989A | JP2010048419A | JP5055337B2 | KR1020050044647A | US20030116731A1 | US6860463 | WO2003048616A1
简单同族成员数量
14
简单同族被引用专利总数
152
诉讼案件数
0
法律状态/事件
授权 | 权利转移
抱歉,您的浏览器不支持PDF预览,请点击链接下载PDF文件