专利数据库
统计分析
产业报告
专利数据监控
产业人才
行业动态
产业政策法规
维权援助
个人中心
详情
文本
图像
标题
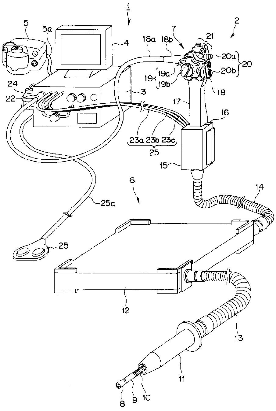
内視鏡及び内視鏡システム
授权日
2012-02-10
公开(公告)号
JP4922618B2
申请日
2006-01-13
公开(公告)日
2012-04-25
当前申请(专利权)人
オリンパスメディカルシステムズ株式会社
发明人
外山 隆一
简单同族
JP2007185383A | JP4922618B2 | US20070167674A1 | US7850678
简单同族成员数量
4
简单同族被引用专利总数
23
诉讼案件数
0
法律状态/事件
授权 | 权利转移
抱歉,您的浏览器不支持PDF预览,请点击链接下载PDF文件