专利数据库
统计分析
产业报告
专利数据监控
产业人才
行业动态
产业政策法规
维权援助
个人中心
详情
文本
图像
标题
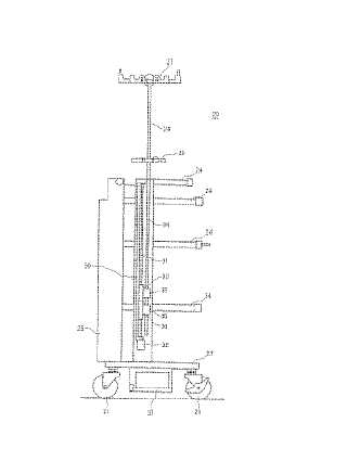
内視鏡用システムカート
授权日
1900-01-01
公开(公告)号
JP2008272358A
申请日
2007-05-07
公开(公告)日
2008-11-13
当前申请(专利权)人
HOYA株式会社
发明人
増川 祐哉
简单同族
JP2008272358A
简单同族成员数量
1
简单同族被引用专利总数
0
诉讼案件数
0
法律状态/事件
撤回 | 权利转移
抱歉,您的浏览器不支持PDF预览,请点击链接下载PDF文件