专利数据库
统计分析
产业报告
专利数据监控
产业人才
行业动态
产业政策法规
维权援助
个人中心
详情
文本
图像
标题
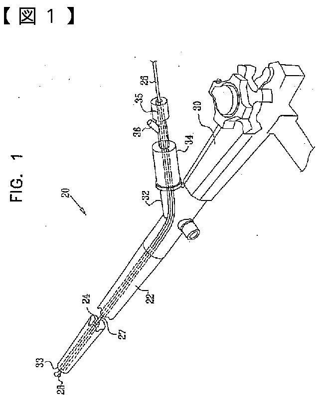
内視鏡器具のためのスリーブ
授权日
2010-10-15
公开(公告)号
JP4608492B2
申请日
2004-08-03
公开(公告)日
2011-01-12
当前申请(专利权)人
ストライカー ジーアイ リミテッド
发明人
アイゼンフェルド,アムラム | バー-オア,ジャコブ | ゴーラン,サルマン | シェズィフィ,オメール
简单同族
AU2004270003A1 | BRPI0414137A | BRPI0414137A2 | CA2536875A1 | CN1845699A | EP1670344A1 | JP2007503948A | JP4608492B2 | KR1020060083414A | RU2006105912A | US20050054894A1 | US6908428 | WO2005023100A1
简单同族成员数量
13
简单同族被引用专利总数
86
诉讼案件数
0
法律状态/事件
授权
抱歉,您的浏览器不支持PDF预览,请点击链接下载PDF文件