专利数据库
统计分析
产业报告
专利数据监控
产业人才
行业动态
产业政策法规
维权援助
个人中心
详情
文本
图像
标题
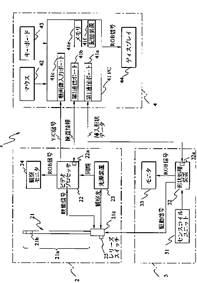
内視鏡挿入形状解析装置
授权日
1900-01-01
公开(公告)号
JP2007054401A
申请日
2005-08-25
公开(公告)日
2007-03-08
当前申请(专利权)人
オリンパスメディカルシステムズ株式会社
发明人
田中 秀樹
简单同族
CN101247752A | CN101247752B | JP2007054401A | JP2007054401A5 | JP4789545B2
简单同族成员数量
5
简单同族被引用专利总数
21
诉讼案件数
0
法律状态/事件
授权 | 权利转移
抱歉,您的浏览器不支持PDF预览,请点击链接下载PDF文件