专利数据库
统计分析
产业报告
专利数据监控
产业人才
行业动态
产业政策法规
维权援助
个人中心
详情
文本
图像
标题
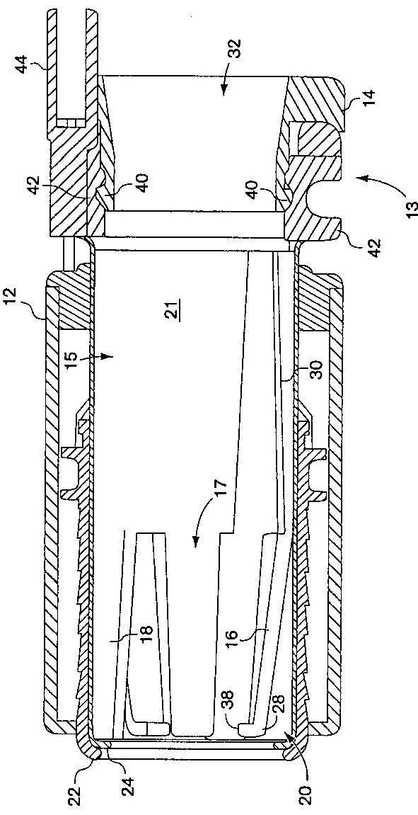
内視鏡付属品装着アダプタ
授权日
2011-01-21
公开(公告)号
JP4667038B2
申请日
2003-09-05
公开(公告)日
2011-04-06
当前申请(专利权)人
シー·アール·バード·インク
发明人
クリストファー·ティー·ザープス | ティモシー·アール·メンブリノ | スコット·リード | エリク·メアーズ
简单同族
AU2003272277A1 | AU2003272277A8 | EP1542577A2 | EP1542577A4 | EP1542577B1 | ES2587884T3 | JP2005537867A | JP4667038B2 | US20040215058A1 | US7204804 | WO2004021867A2 | WO2004021867A3 | WO2004021867A9
简单同族成员数量
13
简单同族被引用专利总数
184
诉讼案件数
0
法律状态/事件
未缴年费
抱歉,您的浏览器不支持PDF预览,请点击链接下载PDF文件