专利数据库
统计分析
产业报告
专利数据监控
产业人才
行业动态
产业政策法规
维权援助
个人中心
详情
文本
图像
标题
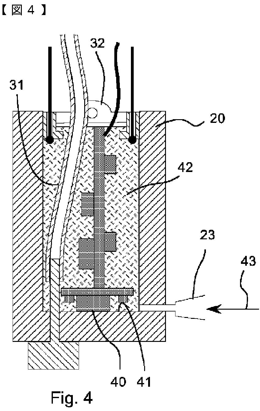
カメラ筐体を有する内視鏡およびカメラ筐体を作る方法
授权日
2013-11-22
公开(公告)号
JP5414806B2
申请日
2009-12-09
公开(公告)日
2014-02-12
当前申请(专利权)人
アンブ·エ/エス
发明人
ラッセ·ケル·ギョエスケ·ペテルセン
简单同族
BRPI0922447A2 | BRPI0922447B1 | CN102307510A | CN102307510B | EP2387346A1 | EP2387346B1 | ES2551131T3 | JP2012511357A | JP5414806B2 | RU2011128392A | RU2510234C2 | US20110288372A1 | US20150005580A1 | US9125582 | US9220400 | WO2010066790A1
简单同族成员数量
16
简单同族被引用专利总数
79
诉讼案件数
0
法律状态/事件
授权
抱歉,您的浏览器不支持PDF预览,请点击链接下载PDF文件