专利数据库
统计分析
产业报告
专利数据监控
产业人才
行业动态
产业政策法规
维权援助
个人中心
详情
文本
图像
标题
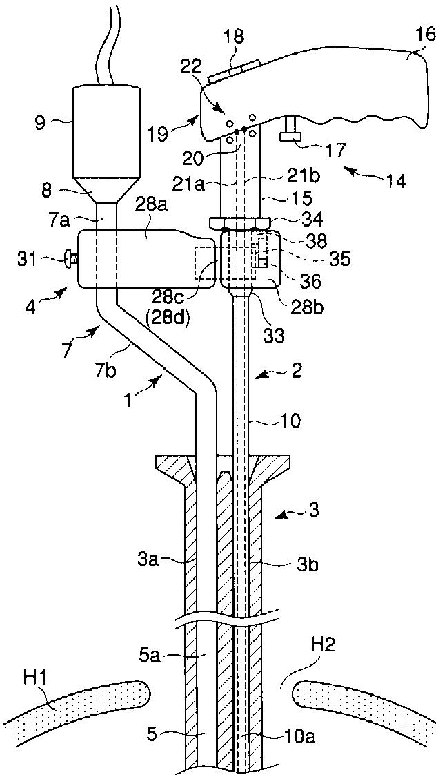
内視鏡手術システム
授权日
2008-09-05
公开(公告)号
JP4179846B2
申请日
2002-10-25
公开(公告)日
2008-11-12
当前申请(专利权)人
オリンパス株式会社
发明人
市来 代士久 | 中西 一仁
简单同族
JP2004141486A | JP4179846B2
简单同族成员数量
2
简单同族被引用专利总数
126
诉讼案件数
0
法律状态/事件
授权 | 权利转移
抱歉,您的浏览器不支持PDF预览,请点击链接下载PDF文件