专利数据库
统计分析
产业报告
专利数据监控
产业人才
行业动态
产业政策法规
维权援助
个人中心
详情
文本
图像
标题
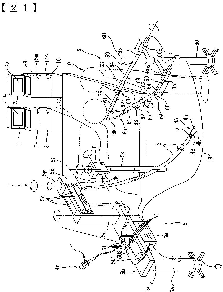
内視鏡システム
授权日
2013-08-09
公开(公告)号
JP5336760B2
申请日
2008-05-01
公开(公告)日
2013-11-06
当前申请(专利权)人
オリンパスメディカルシステムズ株式会社
发明人
内藤 公彦
简单同族
CN101569550A | CN101569550B | EP2113187A1 | EP2113187B1 | JP2009268592A | JP5336760B2 | US20090275798A1 | US8187170
简单同族成员数量
8
简单同族被引用专利总数
35
诉讼案件数
0
法律状态/事件
授权 | 权利转移
抱歉,您的浏览器不支持PDF预览,请点击链接下载PDF文件