专利数据库
统计分析
产业报告
专利数据监控
产业人才
行业动态
产业政策法规
维权援助
个人中心
详情
文本
图像
标题
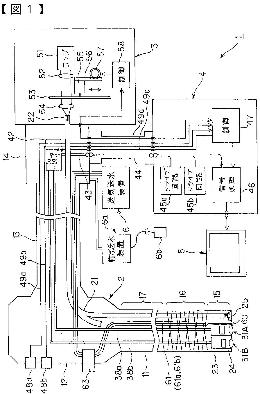
内視鏡用挿入部及び内視鏡
授权日
2010-08-27
公开(公告)号
JP4575174B2
申请日
2005-01-07
公开(公告)日
2010-11-04
当前申请(专利权)人
オリンパスメディカルシステムズ株式会社
发明人
大田原 崇
简单同族
CN101098657A | CN101098657B | EP1834572A1 | EP1834572A4 | EP1834572B1 | JP2006187552A | JP4575174B2 | US20070260119A1 | US8092375 | WO2006073188A1
简单同族成员数量
10
简单同族被引用专利总数
46
诉讼案件数
0
法律状态/事件
授权 | 权利转移
抱歉,您的浏览器不支持PDF预览,请点击链接下载PDF文件