专利数据库
统计分析
产业报告
专利数据监控
产业人才
行业动态
产业政策法规
维权援助
个人中心
详情
文本
图像
标题
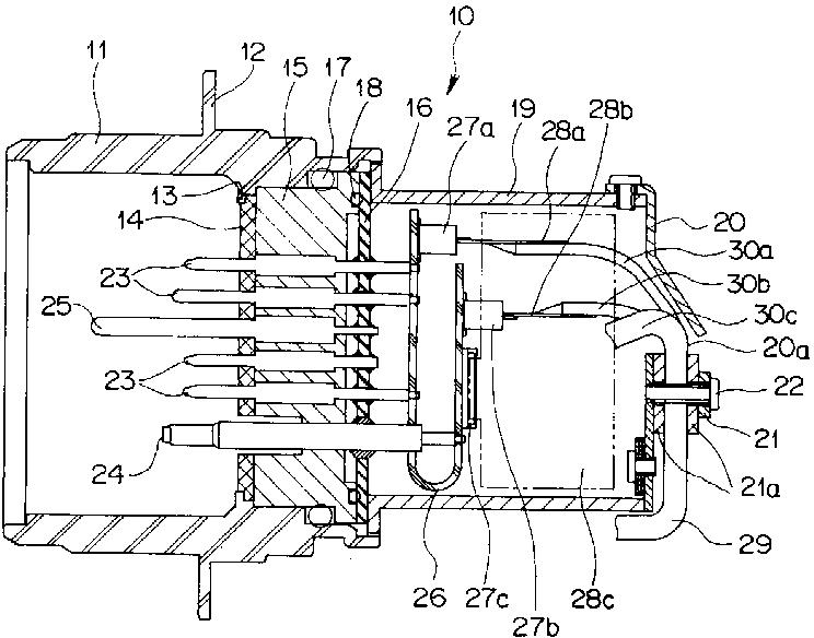
内視鏡の電気コネクタ、内視鏡、及び電気コネクタの組み付け方法
授权日
1900-01-01
公开(公告)号
JP2006192202A
申请日
2005-01-17
公开(公告)日
2006-07-27
当前申请(专利权)人
オリンパス株式会社
发明人
中村 尚弘
简单同族
CN101102714A | CN101102714B | JP2006192202A | JP4377821B2
简单同族成员数量
4
简单同族被引用专利总数
35
诉讼案件数
0
法律状态/事件
授权 | 权利转移
抱歉,您的浏览器不支持PDF预览,请点击链接下载PDF文件