专利数据库
统计分析
产业报告
专利数据监控
产业人才
行业动态
产业政策法规
维权援助
个人中心
详情
文本
图像
标题
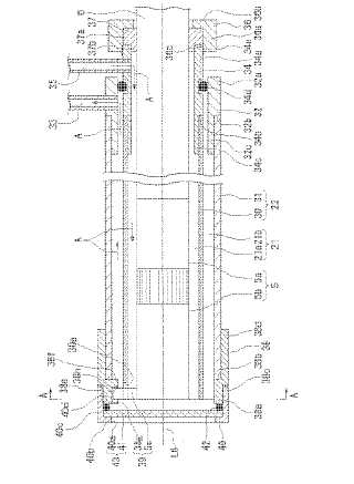
内視鏡用冷却装置及び内視鏡装置
授权日
1900-01-01
公开(公告)号
JP2008228905A
申请日
2007-03-19
公开(公告)日
2008-10-02
当前申请(专利权)人
オリンパス株式会社
发明人
平田 康夫
简单同族
JP2008228905A | JP5075437B2 | US20080242927A1 | US9046694
简单同族成员数量
4
简单同族被引用专利总数
27
诉讼案件数
0
法律状态/事件
授权 | 权利转移
抱歉,您的浏览器不支持PDF预览,请点击链接下载PDF文件