专利数据库
统计分析
产业报告
专利数据监控
产业人才
行业动态
产业政策法规
维权援助
个人中心
详情
文本
图像
标题
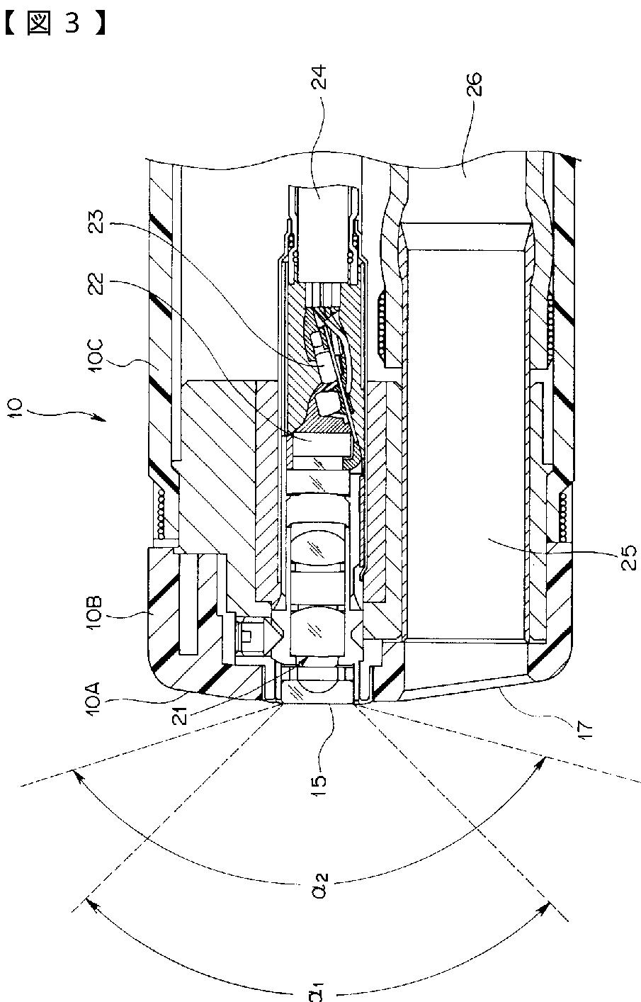
内視鏡及び内視鏡システム
授权日
2010-07-23
公开(公告)号
JP4554267B2
申请日
2004-04-27
公开(公告)日
2010-09-29
当前申请(专利权)人
オリンパス株式会社
发明人
森山 宏樹
简单同族
CN1946334A | EP1743567A1 | EP1743567A4 | EP1743567B1 | JP2005312553A | JP4554267B2 | KR100847406B1 | KR1020070004898A | US20070055106A1 | US8002697 | WO2005102146A1
简单同族成员数量
11
简单同族被引用专利总数
33
诉讼案件数
0
法律状态/事件
授权 | 权利转移
抱歉,您的浏览器不支持PDF预览,请点击链接下载PDF文件