专利数据库
统计分析
产业报告
专利数据监控
产业人才
行业动态
产业政策法规
维权援助
个人中心
详情
文本
图像
标题
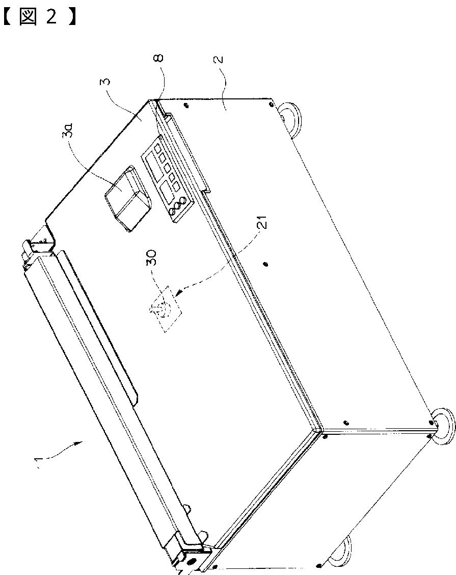
内視鏡洗浄消毒装置及びこの内視鏡洗浄消毒装置による漏水検知方法
授权日
2013-02-01
公开(公告)号
JP5188800B2
申请日
2007-12-21
公开(公告)日
2013-04-24
当前申请(专利权)人
オリンパスメディカルシステムズ株式会社
发明人
大西 秀人 | 小林 健一 | 野崎 桂輔 | 鈴木 信太郎 | 田谷 直也 | 冨田 雅彦 | 野口 利昭 | 鈴木 英理
简单同族
CN101461703A | CN101461703B | EP2080486A2 | EP2080486A3 | EP2080486A8 | EP2080486B1 | JP2009148489A | JP5188800B2 | KR100964769B1 | KR1020090068184A | US20090158539A1 | US8176771
简单同族成员数量
12
简单同族被引用专利总数
46
诉讼案件数
0
法律状态/事件
授权 | 权利转移
抱歉,您的浏览器不支持PDF预览,请点击链接下载PDF文件