专利数据库
统计分析
产业报告
专利数据监控
产业人才
行业动态
产业政策法规
维权援助
个人中心
详情
文本
图像
标题
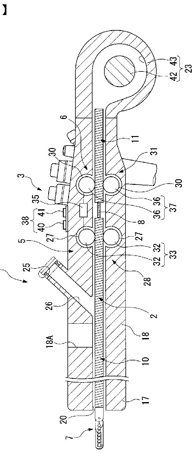
内視鏡用処置具及び内視鏡並びに内視鏡処置システム
授权日
2010-04-30
公开(公告)号
JP4504696B2
申请日
2004-02-03
公开(公告)日
2010-07-14
当前申请(专利权)人
オリンパス株式会社
发明人
鈴木 啓太
简单同族
EP1561413A1 | EP1561413B1 | JP2005218497A | JP4504696B2 | US20050250989A1 | US7789822
简单同族成员数量
6
简单同族被引用专利总数
131
诉讼案件数
0
法律状态/事件
授权 | 权利转移
抱歉,您的浏览器不支持PDF预览,请点击链接下载PDF文件