专利数据库
统计分析
产业报告
专利数据监控
产业人才
行业动态
产业政策法规
维权援助
个人中心
详情
文本
图像
标题
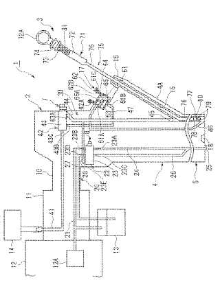
内視鏡及び内視鏡用処置具並びに内視鏡システム
授权日
1900-01-01
公开(公告)号
JP2007029194A
申请日
2005-07-22
公开(公告)日
2007-02-08
当前申请(专利权)人
オリンパス株式会社
发明人
市川 裕章 | 川島 晃一
简单同族
DE602006016610D1 | EP1908391A1 | EP1908391A4 | EP1908391B1 | JP2007029194A | JP4839035B2 | US20080183037A1 | WO2007011040A1
简单同族成员数量
8
简单同族被引用专利总数
45
诉讼案件数
0
法律状态/事件
授权 | 权利转移
抱歉,您的浏览器不支持PDF预览,请点击链接下载PDF文件