专利数据库
统计分析
产业报告
专利数据监控
产业人才
行业动态
产业政策法规
维权援助
个人中心
详情
文本
图像
标题
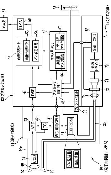
内視鏡画像のズレ量測定装置及び方法、並びに電子内視鏡及び内視鏡用画像処理装置
授权日
1900-01-01
公开(公告)号
JP2010046276A
申请日
2008-08-21
公开(公告)日
2010-03-04
当前申请(专利权)人
富士フイルム株式会社
发明人
設楽 健一
简单同族
JP2010046276A | JP5162374B2 | US20100048993A1 | US8313425
简单同族成员数量
4
简单同族被引用专利总数
38
诉讼案件数
0
法律状态/事件
授权
抱歉,您的浏览器不支持PDF预览,请点击链接下载PDF文件