专利数据库
统计分析
产业报告
专利数据监控
产业人才
行业动态
产业政策法规
维权援助
个人中心
详情
文本
图像
标题
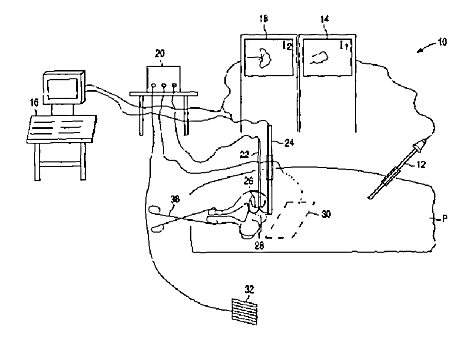
アブレーションニードルを用いた婦人科アブレーション方法及びシステム
授权日
1900-01-01
公开(公告)号
JP2004524865A
申请日
2001-08-07
公开(公告)日
2004-08-19
当前申请(专利权)人
リー、ブルース·ビー
发明人
リー、ブルース·ビー
简单同族
AT481050T | AU2001281201A1 | CA2418896A1 | CA2418896C | DE60143087D1 | EP1309286A1 | EP1309286B1 | JP2004524865A | JP2004524865A5 | KR101092188B1 | KR1020040011417A | KR1020090098922A | US20020022835A1 | US20040215182A1 | US20080045939A1 | US20080045940A1 | US6840935 | WO2002011639A1
简单同族成员数量
18
简单同族被引用专利总数
156
诉讼案件数
0
法律状态/事件
驳回 | 权利转移
抱歉,您的浏览器不支持PDF预览,请点击链接下载PDF文件