专利数据库
统计分析
产业报告
专利数据监控
产业人才
行业动态
产业政策法规
维权援助
个人中心
详情
文本
图像
标题
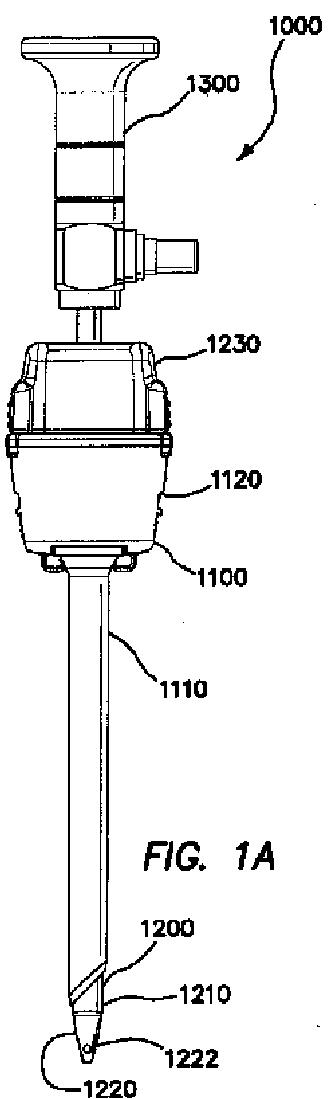
第一穿刺用トロカール·システム
授权日
1900-01-01
公开(公告)号
JP2012504030A
申请日
2009-09-29
公开(公告)日
2012-02-16
当前申请(专利权)人
アプライド メディカル リソーシーズ コーポレイション
发明人
カール ヘンリー | ストロコッツ アルカディウス | テイラー スコット ヴィー
简单同族
AU2009296212A1 | AU2009296212B2 | CA2734538A1 | CA2734538C | EP2328487A1 | EP2328487B1 | EP3335651A1 | EP3335651B1 | EP3545883A1 | ES2748523T3 | JP2012504030A | JP5518873B2 | US10022150 | US20100081988A1 | US20130303848A1 | US20130324912A1 | US20160183975A1 | US20180310959A1 | US8506520 | US9314266 | US9358040 | WO2010037099A1
简单同族成员数量
22
简单同族被引用专利总数
59
诉讼案件数
0
法律状态/事件
授权
抱歉,您的浏览器不支持PDF预览,请点击链接下载PDF文件