专利数据库
统计分析
产业报告
专利数据监控
产业人才
行业动态
产业政策法规
维权援助
个人中心
详情
文本
图像
标题
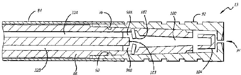
腹腔鏡スプレーデバイスおよび使用方法
授权日
1900-01-01
公开(公告)号
JP2005507734A
申请日
2002-10-07
公开(公告)日
2005-03-24
当前申请(专利权)人
バクスター、インターナショナル、インコーポレイテッド | バクスター·ヘルスケア·ソシエテ·アノニム
发明人
スペロ, リチャード | ヤーディムシー, アティフ | エプステイン, ゴードン
简单同族
AU2002363414A1 | AU2002363414B2 | CA2462498A1 | CA2462498C | EP1434524A2 | JP2005507734A | JP2005507734A5 | JP4551659B2 | MXPA04003237A | US20030069537A1 | US6921381 | WO2003039375A2 | WO2003039375A3
简单同族成员数量
13
简单同族被引用专利总数
100
诉讼案件数
0
法律状态/事件
授权
抱歉,您的浏览器不支持PDF预览,请点击链接下载PDF文件