专利数据库
统计分析
产业报告
专利数据监控
产业人才
行业动态
产业政策法规
维权援助
个人中心
详情
文本
图像
标题
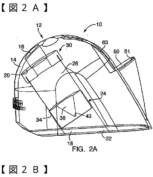
医療処置の前に医療用ビデオ内視鏡にホワイトバランスを行うとともに曇り止め剤を医療用ビデオ内視鏡に塗布する装置
授权日
2013-05-10
公开(公告)号
JP5266065B2
申请日
2007-01-29
公开(公告)日
2013-08-21
当前申请(专利权)人
ニュー ウェーブ サージカル コープ.
发明人
ゴメス リカルド アレクサンダー
简单同族
CN101374452A | CN101374452B | EP1981390A2 | EP1981390A4 | EP1981390B1 | EP2659829A2 | EP2659829A3 | EP2659829B1 | EP3150104A1 | ES2614487T3 | JP2009525068A | JP5266065B2 | KR101250611B1 | KR1020080094080A | US20080161646A1 | US8152717 | WO2007089719A2 | WO2007089719A3
简单同族成员数量
18
简单同族被引用专利总数
92
诉讼案件数
0
法律状态/事件
授权 | 权利转移
抱歉,您的浏览器不支持PDF预览,请点击链接下载PDF文件