专利数据库
统计分析
产业报告
专利数据监控
产业人才
行业动态
产业政策法规
维权援助
个人中心
详情
文本
图像
标题
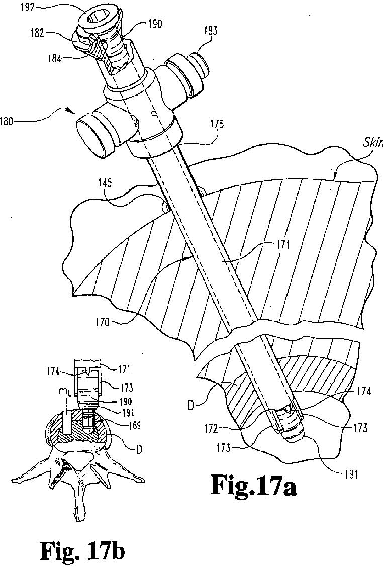
腹腔鏡
授权日
1900-01-01
公开(公告)号
JP2006187633A
申请日
2006-01-06
公开(公告)日
2006-07-20
当前申请(专利权)人
ウォーソー·オーソペディック·インコーポレーテッド
发明人
ズドブリック,トーマス | ボイド,ローレンス·エム | レイ,エディー,ザ·サード
简单同族
AT245955T | AT348563T | AU1997022714A1 | DE69723832D1 | DE69723832T2 | DE69737130D1 | DE69737130T2 | EP0904037A2 | EP0904037B1 | EP1342457A2 | EP1342457A3 | EP1342457B1 | ES2202580T3 | JP2000506748A | JP2006187633A | JP3798026B2 | JP4295766B2 | TR199700150A2 | WO1997030666A2 | WO1997030666A3 | ZA199701522B
简单同族成员数量
21
简单同族被引用专利总数
106
诉讼案件数
0
法律状态/事件
未缴年费 | 权利转移
抱歉,您的浏览器不支持PDF预览,请点击链接下载PDF文件