专利数据库
统计分析
产业报告
专利数据监控
产业人才
行业动态
产业政策法规
维权援助
个人中心
详情
文本
图像
标题
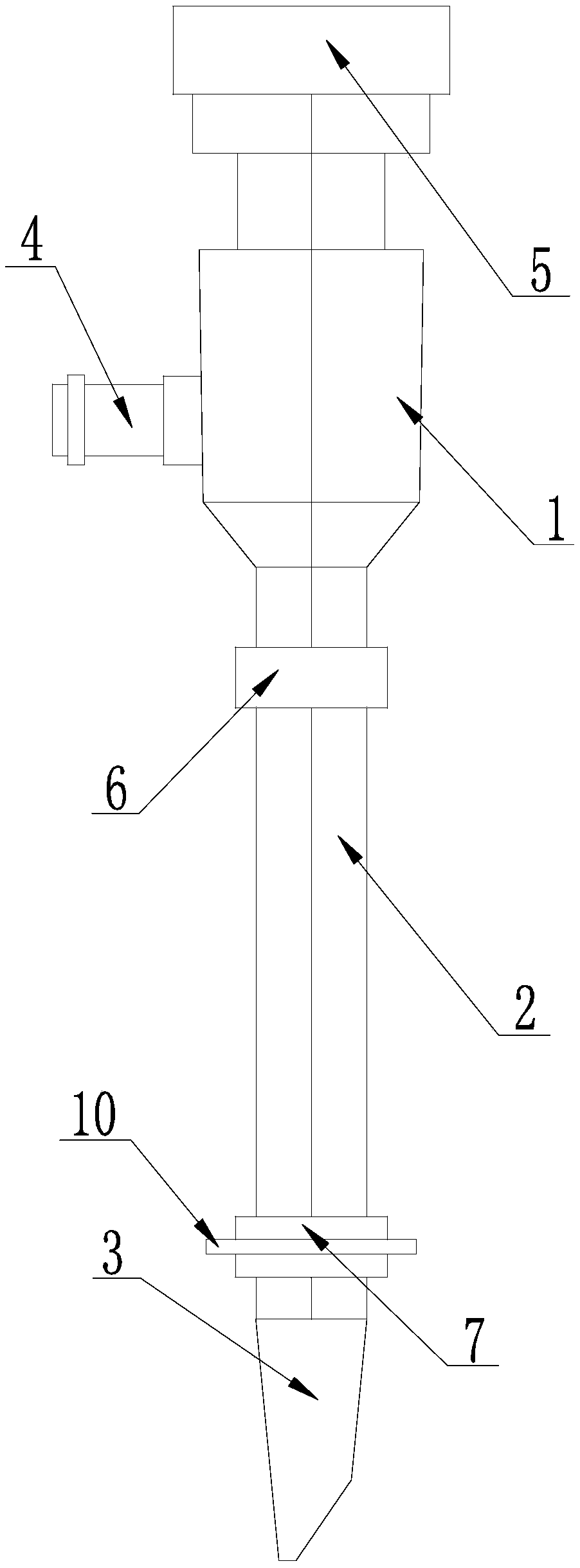
一种可拆卸的腹腔镜手术套管
授权日
2020-07-10
公开(公告)号
CN210962102U
申请日
2019-08-05
公开(公告)日
2020-07-10
当前申请(专利权)人
广州市妇女儿童医疗中心
发明人
颜斌 | 何秋明 | 王哲 | 夏慧敏 | 钟微 | 余家康
简单同族
CN210962102U
简单同族成员数量
1
简单同族被引用专利总数
0
诉讼案件数
0
法律状态/事件
授权
抱歉,您的浏览器不支持PDF预览,请点击链接下载PDF文件