专利数据库
统计分析
产业报告
专利数据监控
产业人才
行业动态
产业政策法规
维权援助
个人中心
详情
文本
图像
标题
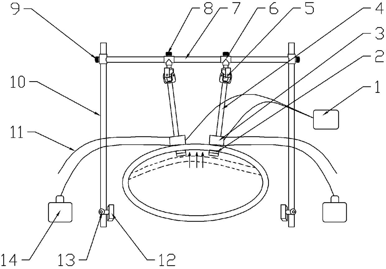
带冷却装置的可调节强电磁腹腔内可控微创系统
授权日
2019-03-05
公开(公告)号
CN208573771U
申请日
2017-12-18
公开(公告)日
2019-03-05
当前申请(专利权)人
上海交通大学医学院附属瑞金医院
发明人
刘文韬 | 于随然 | 王贵兴 | 汪灵泉
简单同族
CN208573771U
简单同族成员数量
1
简单同族被引用专利总数
0
诉讼案件数
0
法律状态/事件
授权
抱歉,您的浏览器不支持PDF预览,请点击链接下载PDF文件