专利数据库
统计分析
产业报告
专利数据监控
产业人才
行业动态
产业政策法规
维权援助
个人中心
详情
文本
图像
标题
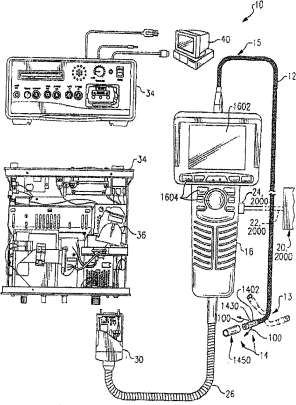
包括流体供给系统的管道镜
授权日
1900-01-01
公开(公告)号
CN101005796A
申请日
2005-06-15
公开(公告)日
2007-07-25
当前申请(专利权)人
通用电气检查技术有限合伙人公司
发明人
M·P·克霍斯基 | T·W·卡彭 | A·I·克劳特 | R·A·利亚 | B·莫尔斯 | K·冯费尔滕
简单同族
CN101005796A | EP1761159A1 | US20050281520A1 | US7422559 | WO2006007374A1
简单同族成员数量
5
简单同族被引用专利总数
100
诉讼案件数
0
法律状态/事件
撤回
抱歉,您的浏览器不支持PDF预览,请点击链接下载PDF文件