专利数据库
统计分析
产业报告
专利数据监控
产业人才
行业动态
产业政策法规
维权援助
个人中心
详情
文本
图像
标题
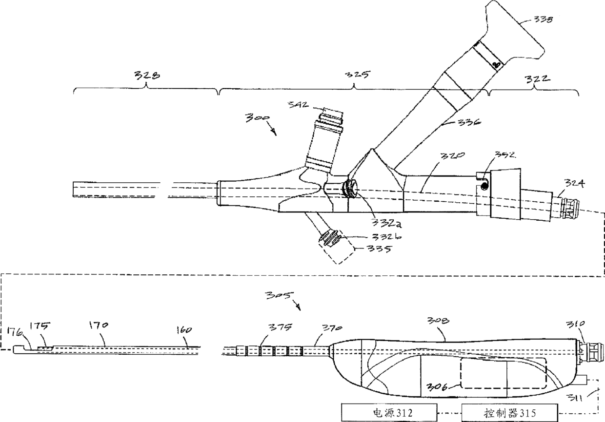
医疗装置和方法
授权日
1900-01-01
公开(公告)号
CN104254290A
申请日
2013-01-22
公开(公告)日
2014-12-31
当前申请(专利权)人
波士顿科学西美德公司
发明人
A.杰曼 | C.特鲁凯
简单同族
AU2013209409A1 | AU2013209409B2 | AU2016204170A1 | AU2016204170B2 | AU2017228605A1 | AU2017228605B2 | AU2018260831A1 | AU2018260831B2 | AU2020202640A1 | CA2861327A1 | CN104254290A | CN104254290B | CN108354664A | EP2804550A1 | EP2804550A4 | EP2804550B1 | EP3360492A1 | ES2677145T3 | JP2015512659A | JP2017080529A | JP2019013796A | JP6122874B2 | JP6417433B2 | JP6697524B2 | US10531912 | US20140031834A1 | US20170014180A1 | US20200121387A1 | US9439677 | WO2013110073A1
简单同族成员数量
30
简单同族被引用专利总数
27
诉讼案件数
0
法律状态/事件
授权 | 权利转移
抱歉,您的浏览器不支持PDF预览,请点击链接下载PDF文件