专利数据库
统计分析
产业报告
专利数据监控
产业人才
行业动态
产业政策法规
维权援助
个人中心
详情
文本
图像
标题
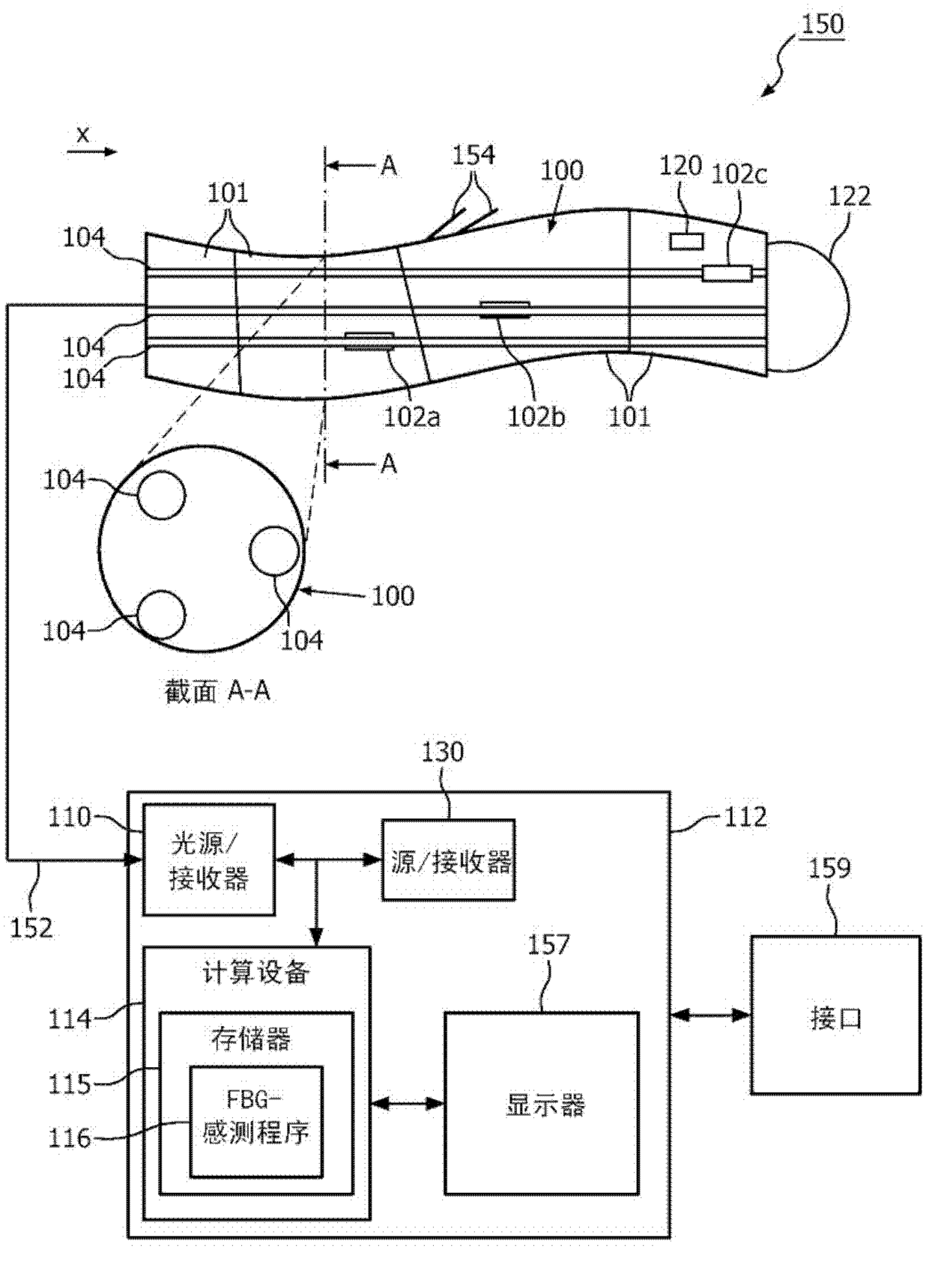
用于生物物理学参数的快速分布式测量的光学感测使能的介入仪器
授权日
2016-02-24
公开(公告)号
CN102573691B
申请日
2010-08-26
公开(公告)日
2016-02-24
当前申请(专利权)人
皇家飞利浦电子股份有限公司
发明人
R·陈 | M·E·巴利 | A·E·德雅尔丹 | G·谢克特 | G·T·霍夫特
简单同族
CN102573691A | CN102573691B | EP2490612A1 | EP3266383A1 | JP2013508058A | JP2015154938A | JP5952736B2 | JP6157526B2 | RU2012121174A | RU2577509C2 | US10610085 | US20120197097A1 | WO2011048509A1
简单同族成员数量
13
简单同族被引用专利总数
70
诉讼案件数
0
法律状态/事件
授权
抱歉,您的浏览器不支持PDF预览,请点击链接下载PDF文件