专利数据库
统计分析
产业报告
专利数据监控
产业人才
行业动态
产业政策法规
维权援助
个人中心
详情
文本
图像
标题
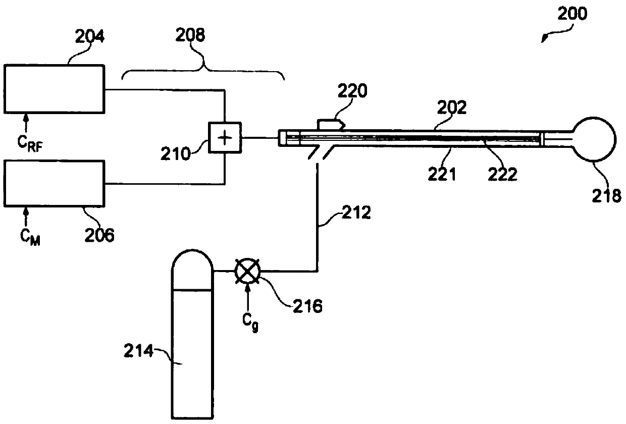
具有将电磁能和/或热等离子体递送到生物组织中的能力的外科圈套器
授权日
2019-05-21
公开(公告)号
CN105848601B
申请日
2014-12-18
公开(公告)日
2019-05-21
当前申请(专利权)人
科瑞欧医疗有限公司
发明人
C·P·汉考克 | M·怀特
简单同族
AU2014372383A1 | AU2014372383B2 | BR112016014706A2 | BR112016014706A8 | CA2934571A1 | CN105848601A | CN105848601B | EP3086730A1 | EP3086730B1 | ES2710361T3 | GB201322850D0 | GB2521611A | GB2521611B | HK1222310A | HK1222310A1 | JP2017501000A | JP6417425B2 | KR1020160102199A | PT3086730T | SG11201604695XA | US10568689 | US20170014184A1 | WO2015097446A1
简单同族成员数量
23
简单同族被引用专利总数
22
诉讼案件数
0
法律状态/事件
授权
抱歉,您的浏览器不支持PDF预览,请点击链接下载PDF文件